To purchase parts for the Phoenix Rotary Sander (Upper Handle Assembly RF108500):
- Reference the part needed from the parts diagram and refer to the parts list below.
- Copy the Part Number and paste it into the search window above to see availability and pricing.
- Confirm your parts selection and "Add To Cart".

| ITEM NO. | PART NUMBER | DESCRIPTION | QTY. |
|---|---|---|---|
| 1 | MP562700 | HANDLE STEM, UPPER, FOLD. HAND | 1 |
| 2 | NB087900 | BUTTON, TELESCOPE, 1/2 DIA | 1 |
| 3 | 80284A | SCREW, SHC, #10-32 X 3/4 | 6 |
| 4 | 21075A | HANDLE BACK CFP | 1 |
| 5 | 85817A | BOLT,HEX, 5/16-18X2,ZN | 2 |
| 6 | AS138700 | TONGUE, FOLDING HANDLE TUBE | 1 |
| 7 | 21074A | HANDLE FRONT CFP | 1 |
| 8 | AS138500 | CORD, INTERCONNECT, 230V | 1 |
| 9 | AS137700 | CORD, ADAPTOR, 15", 14/3 | 1 |
| 10 | 10304A | ADAPTOR, DUST COLLECTION | 1 |
| 11 | 88643A | BOLT, CARRIAGE, 5/16-18 X 1 1/2 | 1 |
| 12 | 10687A | MODULE INTERLOCK ASM | 1 |
| 13 | 80290A | SCREW, SHF, HEX, 10-32 X 3/8, ZN | 3 |
| 14 | 980603 | WASHER, LOCK, #10, EXT | 2 |
| 15 | NB3265 | NUT, NYLOCK, 5/16"-18 | 3 |
| 16 | 47709A | TERMINAL, 1/4 FIFQD, 12-10 GA | 2 |
| 17 | AS138400 | CORD, INTERCONNECT, LIGHT, 230 | 1 |
| 18 | 80291A | WASHER, FLAT, #10 | 1 |
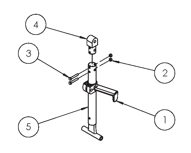
Lower Handle Assembly RF108500

| ITEM NO. | PART NUMBER | DESCRIPTION | QTY. |
|---|---|---|---|
| 1 | 80150A | CLAMP, HANDLE, 1/2" BORE | 1 |
| 2 | NB3265 | NUT, NYLOCK, 5/16"-18 | 2 |
| 3 | 85817A | BOLT,HEX, 5/16-18X2,ZN | 2 |
| 4 | AS138700 | TONGUE, FOLDING HANDLE TUBE | 1 |
| 5 | MP563100 | HANDLE, LOWER, FOLD. HAND | 1 |