| Item | Part Number | QTY | Description | | Item | Part Number | QTY | Description | | Item | Part Number | QTY | Description |
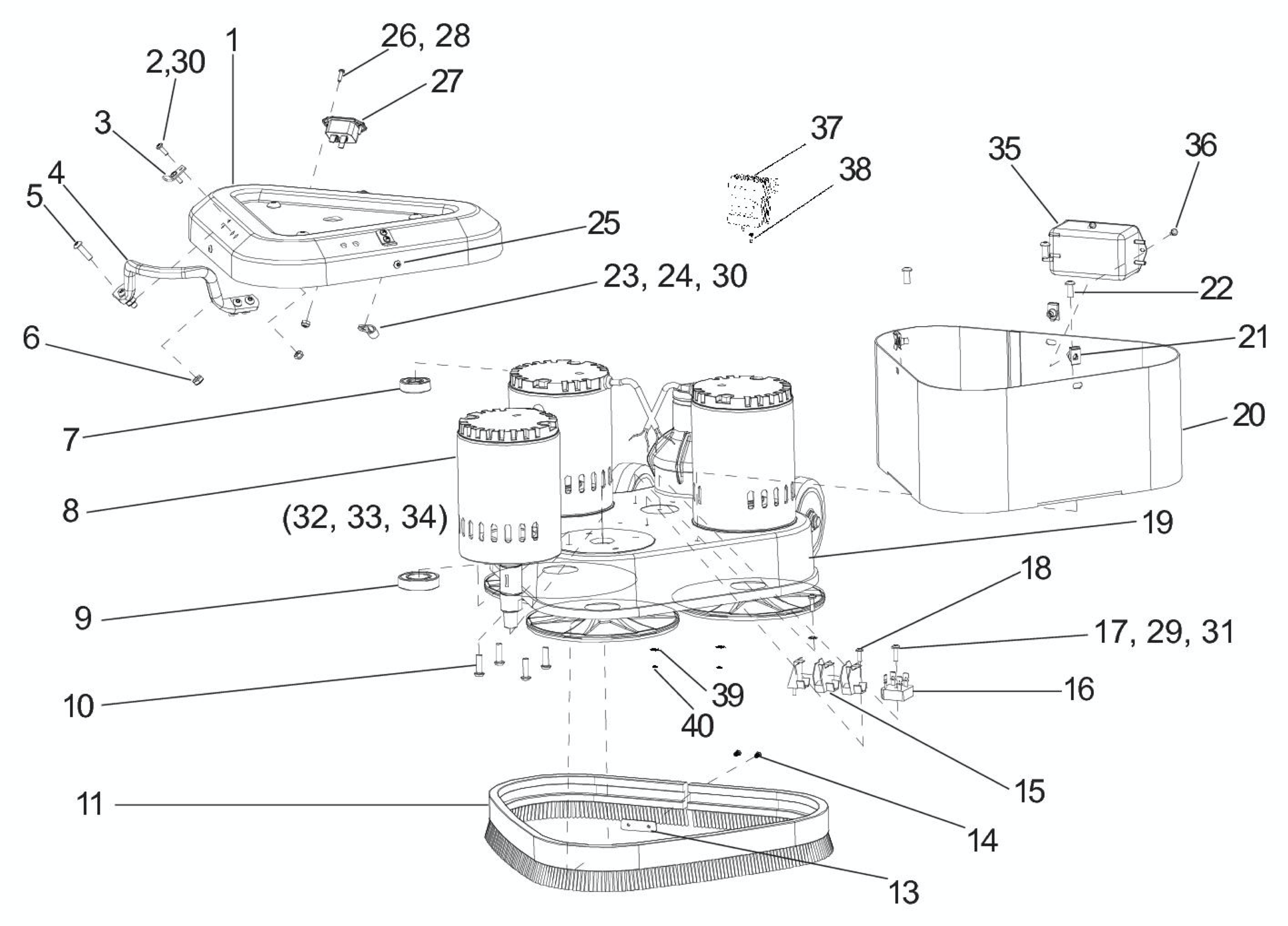
| 1 | 61846A | 1 | COVER MOTOR EZ-SAND | | 16 | 912287 | 1 | RECTIFIER | | 31 | 980603 | 1 | WASHER LK 10 EXT TOOTHPLTD |
| 2 | 962027 | 5 | SCREW 8-32 X 1/2 PAN HD | | 17 | 80311A | 2 | SCREW 10-32 X 5/8 PAN HD PHIL | | 32 | 54287A | 1 | ARMATURE ASM EZ-SAND |
| 3 | 53770A | 3 | KEEPER LATCH CONCEALED | | 18 | 85303A | 2 | SCREW 8-32 X 3/8 PN ST PH | | 33 | 40826A | 2 | BRUSH ASM.CARBON V32I/26I/38I |
| 4 | 61806A | 1 | HANDLE HOUSING EZ-SAND | | 19 | 29892A | 1 | FRAME MAIN EZ-SAND | | 34 | 448396 | 2 | SPRING-BRUSH 571001 |
| 5 | 98472A | 4 | BUTTON 1/4-20 X 5/8 HD | | 20 | 61847A | 1 | SHROUD MOTOR EZ-SAND | | 35A | 41072A | 1 | RF FILTER 20A 250V |
| 6 | 81217A | 4 | NUT 1/4-20 X .218H NYLOCK | | 21 | 80319A | 3 | NUT 10-24 U-TYPE 938PK | | 35B | 41091A | 1 | RF SUPPRESSOR 250V/50-60HZ |
| 7 | 902567 | 3 | BEARING BALLDOUBLE SEALED | | 22 | 962822 | 3 | SCR 1/4-20 X 5/8 BT ST SOC | | 36 | 930005 | 2 | RIVET-5/32X3/8 POP |
| 8 | 53672A | 3 | MOTOR 1/3HP 5000 RPM | | 23 | 872102 | 1 | NYLON CLIP-5/16 OD | | 37 | 1087A | 1 | PLASTIC UHMW BLACK 4 X 10 |
| 9 | 51176A | 3 | BEARING BALL 6005 SERIES | | 24 | 85614A | 1 | SCREW8-32X3/4 PAN HD | | 38 | 80131A | 2 | SCREW 1/4-20X3/4 RH CARRIAGE |
| 10 | 80139A | 12 | SCREW 1/4-20 X 7/8 BT | | 25 | 962798 | 3 | SCR 10-24X 1/2 PN SS | | 39 | 980646 | 2 | WASHER 1/4 SAE FLAT PLTD |
| 11 | 30685A | 1 | SKIRT DUST EZ-SAND | | 26 | 80310A | 2 | SCREW 6-32X1/2 PAN HD PHIL | | 40 | 81102A | 2 | NUT STOP ELASTIC 1/4-20 HEX |
| 12 | 40958A | 1 | ADAPTER MOUNTING EZ-SAND | | 27 | 40930A | 1 | INLET AC IEC60320 QD****USE SA031000**** | | | 40956A | 1 | HARNESS RECT - TERM BLK |
| 13 | 61793A | 1 | PLATE SKIRT BACKING EZ-SAND | | 28 | 920056 | 2 | NUT-6X32 ELASTIC STOP | | | 41090A | 1 | HARNESS IEC-FILTER 230V UK |
| 14 | 80309A | 2 | SCREW 6 X 3/8 SHEET METAL | | 29 | 980650 | 1 | WASH .19 x .34 x .04 LOCK | | | 41088A | 1 | HARNESS RECT-TERM BLK 230V |
| 15 | 40957A | 2 | BLOCK TERMINAL EZ-SAND | | 30 | 920065 | 6 | NUT 8-32 ESNA 22NM-82 | | | | | |