To purchase parts for the American 12 (Motor Assembly Models 07001A):
- Reference the part needed from the parts diagram and refer to the parts list below.
- Copy the Part Number and paste it into the search window above to see availability and pricing.
- Confirm your parts selection and "Add To Cart".
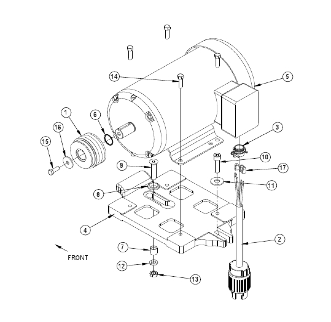
Motor Assy [Model 07001A] | ||||||||
Item | Part Number | Qty | Description | Item | Part Number | Qty | Description | |
1 | 56381703 | 1 | MOTOR PULLEY AM-12 | 11 | 87006A | 1 | WASHER .56X1.38X.11 FLAT ST | |
2 | 56382557 | 1 | MOTOR CORD 3P-4W | 12 | 87101A | 1 | WASHER LOCK 1/2 NOM | |
3 | 56382827 | 1 | CABLE CONNECTOR 3/4 | 13 | 920196 | 1 | NUT-1/2-13 HEX JAM | |
4 | 26108C | 1 | PLATFORM MOTOR - BLACK | 14 | 962216 | 4 | SCREW 3/8-16 X 1-1/4 HX HD | |
5 | 41044A | 1 | MOTOR 10HP 3 PH 230/460 3450****USE SA033600**** | 15 | 962288 | 1 | SCREW 3/8-16 X 1.0 HX ST CAP | |
6 | 57712A | 1 | RINGRETAININGMOTOR SHAFT8 | 16 | 87034A | 1 | RETAINERMTR PULLEY CLASSIC 8 | |
7 | 67820A | 1 | SPACER-SCREW-MOTOR | 17 | 170674 | 3 | CONNECTORWIRE NUT-RED | |
8 | 68704A | 1 | WASHER-SCREW-MOTOR | 18 | AS022600 | FAN(NOT SHOWN) | ||
9 | 84220A | 1 | SCREW 1/2-13 X 2 1/4 FLAT HD | 19 | AS022700 | HOUSING, FAN(NOT SHOWN) | ||
10 | 85706A | 1 | SCR 1/2 -13X1&3/4 HX ST CAP |