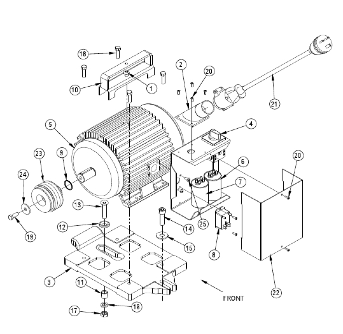
To purchase parts for the American 12 (Motor Assembly Models 07120A):
- Reference the part needed from the parts diagram and refer to the parts list below.
- Copy the Part Number and paste it into the search window above to see availability and pricing.
- Confirm your parts selection and "Add To Cart".
Motor Assy [Model 07120A] | ||||||||
Item | Part Number | Qty | Description | Item | Part Number | Qty | Description | |
1 | 962870 | 1 | SCR 3/8 -16X1 BT ST ALLEN | 14 | 85706A | 1 | SCR 1/2 -13X1&3/4 HX ST CAP | |
2 | 10603A | 1 | INLET ASM ELECTRICAL | 15 | 87006A | 1 | WASHER .56X1.38X.11 FLAT ST | |
3 | 26108C | 1 | PLATFORM MOTOR - BLACK | 16 | 87101A | 1 | WASHER LOCK 1/2 NOM | |
4 | 40676A | 1 | SWITCHCONTROL FLOORCRAFTER | 17 | 920196 | 1 | NUT-1/2-13 HEX JAM | |
5 | 40746A | 1 | MOTOR 2.2KW AM-12 CE | 18 | 962216 | 4 | SCREW 3/8-16 X 1-1/4 HX HD | |
6 | 41304A | 1 | CAPACITOR OIL FILLED 40MFD | 19 | 962288 | 1 | SCREW 3/8-16 X 1.0 HX ST CAP | |
7 | 41306A | 1 | CAPACITOR RUN 115V EZ-8 | 20 | 962727 | 8 | SCREW 8-32X 1/2 PN ST TP23 PH | |
8 | 46323A | 1 | RELAY LATCHING DPST240V UKB2 | 21 | 40673A | 1 | CORDSET W/UK1-13P | |
9 | 57712A | 1 | RINGRETAININGMOTOR SHAFT8 | 22 | 61599A | 1 | ENCLOSURE SWITCH AM-12 UK CE | |
10 | 64460A | 1 | HANDLE WLDMTMOTOR LIFTPNTD8 | 23 | 66164A | 1 | PULLEY MOTOR AMERICAN 12 | |
11 | 67820A | 1 | SPACER-SCREW-MOTOR | 24 | 87034A | 1 | RETAINERMTR PULLEY CLASSIC 8 | |
12 | 68704A | 1 | WASHER-SCREW-MOTOR | 25 | 87700A | 2 | SCREW1/4-20 X 1/2 BUTTON HEAD | |
13 | 84220A | 1 | SCREW 1/2-13 X 2 1/4 FLAT HD |