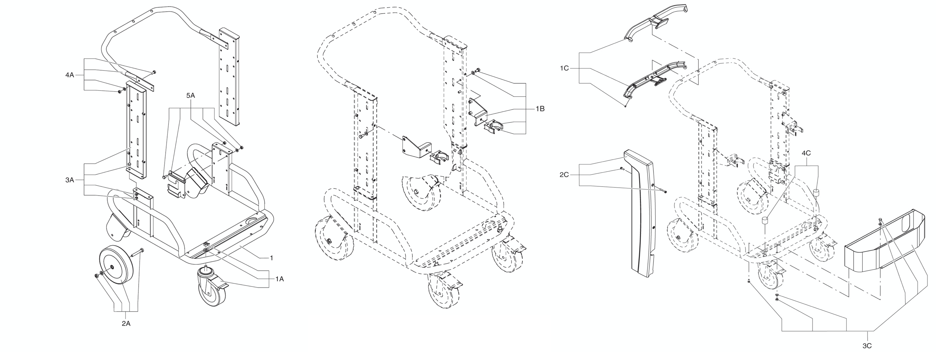
To purchase parts for the CAV 100 Vacuum (Frame Assembly):
- Reference the part needed from the parts diagram and refer to the parts list below.
- Copy the Part Number and paste it into the search window above to see availability and pricing.
- Confirm your parts selection and "Add To Cart".

| Item | Part Number | QTY | Description | Item | Part Number | QTY | Description | |
| 1 | 4083600611 | 1 | CAR/CART | 1B | 40000856 | 2 | HOSE HOLDER KIT | |
| 1A | 4089100020 | 2 | D150 REVOLVING CASTOR KIT | 1C | 40000855 | 1 | HANDLE KIT | |
| 2A | 4089100019 | 1 | WHEEL KIT D200 | 2C | 40000864 | 1 | UPRIGHT PROTECTION KIT | |
| 3A | 40000871 | 1 | UPRIGHT KIT | 3C | 40000892 | 1 | COMPARTMENT KIT | |
| 4A | 40000891 | 1 | HANDLE KIT | 4C | 40000870 | 1 | PROTECTION KIT | |
| 5A | 40000872 | 1 | BIN RELEASE KIT |